Сидение мото двойное в сборе, арт. 77200-L3A-000

Мы снизим цену!
Самовывоз...
Доставка...
Доставка
Основные характеристики
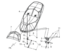
Компания Velocity предлагает приобрести Сидение мото двойное в сборе SYM JoyMax 300 производства SYM parts. Сидение, артикул 77200-L3A-000подходит для применения в мототехнике JOYMAX 300i ABS. Для проверки совместимости рекомендуем воспользоваться нашим сервисом подбора запчастей. Стоимость Сидение мото двойное в сборе SYM JoyMax 300 составляет 8 723 руб. без учета доставки. Осуществляем обмен или возврат товара в течение 14 дней с момента покупки.
77200-L3A-000
77200L3A000

Подбор запчастей Сидение Кузов/Электрика JoyMax 300i JoyMax 300i SYM
СмотретьДоставка