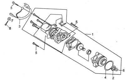
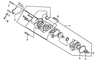
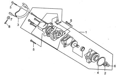
Запчасти Двигатели Стартер YX153FMI (W120) кикстартер - в наличии на складе и под заказ!

Стартер
Наименование
Артикул
Кол-во в узле
Цена
Наличие
Аналоги
Наименование
1
Кол-во в узле
Цена
2053D000BCR
1
4 794 ₽
Подобрать аналоги
Наименование
2
Кол-во в узле
Цена
D00D006
1
Наименование
3
Кол-во в узле
Цена
201-11-3
1
Наименование
4
Кол-во в узле
Цена
D00D015
1
Наименование
5
Винт M6x50
96006050
Кол-во в узле
Цена
96006050
3
Наименование
6
Кол-во в узле
Цена
F00G030
1
Наименование
7
Шайба 4
201-11-7
Кол-во в узле
Цена
201-11-7
1
Наименование
8
Винт M4x6
84804006
Кол-во в узле
Цена
84804006
1