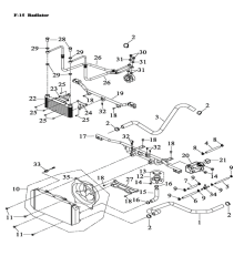
Патрубок радиатора 700, арт. 15233-A27-030

Самовывоз...
Доставка...
Доставка
Основные характеристики
Компания Velocity предлагает приобрести Патрубок радиатора 700 Access производства Access parts. Для проверки совместимости рекомендуем воспользоваться нашим сервисом подбора запчастей. Стоимость Патрубок радиатора 700 Access составляет 828 руб. без учета доставки. Осуществляем обмен или возврат товара в течение 14 дней с момента покупки.
15233-A27-030

Подбор запчастей Радиатор QR 700 Access Motor
СмотретьДоставка