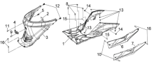
Облицовка пола черный_BK-001U, арт. 64310-LVA-000-KA

Самовывоз...
Доставка...
Доставка
Основные характеристики
Компания Velocity предлагает приобрести Облицовка пола черный_BK-001U SYM JoyRide 200 производства SYM parts. Облицовка, артикул 64310-LVA-000-KAподходит для применения в мототехнике JOYRIDE 200i. Для проверки совместимости рекомендуем воспользоваться нашим сервисом подбора запчастей. Стоимость Облицовка пола черный_BK-001U SYM JoyRide 200 составляет 2 372 руб. без учета доставки. Осуществляем обмен или возврат товара в течение 14 дней с момента покупки.
64310-LVA-000-KA
64310LVA000KA

Подбор запчастей Облицовка пола Кузов/Электрика JoyRide 200 EFI (LF18W-6) JoyRide 200 SYM
СмотретьДоставка