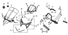
Панель приборов, арт. 37200-HM1-000

Мы снизим цену!
Самовывоз...
Доставка...
Доставка
Основные характеристики
Компания Velocity предлагает приобрести Панель приборов SYM GTS 300 производства SYM parts. Панель приборов, артикул 37200-HM1-000подходит для применения в мототехнике GTS300i. Для проверки совместимости рекомендуем воспользоваться нашим сервисом подбора запчастей. Стоимость Панель приборов SYM GTS 300 составляет 10 199 руб. без учета доставки. Осуществляем обмен или возврат товара в течение 14 дней с момента покупки.
37200-HM1-000
37200HM1000

Подбор запчастей Приборная панель / Стекло Кузов/Электрика GTS 300i EFI (LM30W-6) GTS 300i SYM
СмотретьДоставка