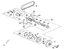
Пластина сцепления, арт. 22361-HMA-000

Самовывоз...
Доставка...
Доставка
Основные характеристики
Компания Velocity предлагает приобрести Пластина сцепления SYM JoyMax 300 производства SYM parts. Пластина, артикул 22361-HMA-000подходит для применения в мототехнике JOYMAX 300i ABS. Для проверки совместимости рекомендуем воспользоваться нашим сервисом подбора запчастей. Стоимость Пластина сцепления SYM JoyMax 300 составляет 371 руб. без учета доставки. Осуществляем обмен или возврат товара в течение 14 дней с момента покупки.
22361-HMA-000
22361HMA000

Подбор запчастей Сцепление Двигатель CityCom 300 (LH30W-6) CityCom 300 SYM
Смотреть
Подбор запчастей Сцепление Двигатель GTS 250 (LM25W-6_edited) GTS 250 SYM
Смотреть
Подбор запчастей Сцепление Двигатель JoyMax 300i JoyMax 300i SYM
Смотреть
Подбор запчастей Ведомый шкив Двигатель ATV 250 SYM
СмотретьДоставка