Трубка топливная, арт. 17630-L6C-000

Самовывоз...
Доставка...
Доставка
Основные характеристики
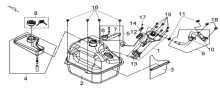
Компания Velocity предлагает приобрести Трубка топливная SYM Maxsym 600 производства SYM parts. Трубка, артикул 17630-L6C-000подходит для применения в мототехнике MAXSYM 600. Для проверки совместимости рекомендуем воспользоваться нашим сервисом подбора запчастей. Стоимость Трубка топливная SYM Maxsym 600 составляет 2 616 руб. без учета доставки. Осуществляем обмен или возврат товара в течение 14 дней с момента покупки.
17630-L6C-000
17630L6C000

Подбор запчастей Бензобак Кузов/Электрика MaxSYM 600 (LX60A2) MaxSYM 600 SYM
СмотретьДоставка