Втулка уплотнения, арт. 23237-HMA-000

Самовывоз...
Доставка...
Доставка
Основные характеристики
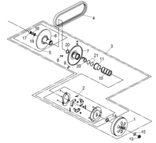
Компания Velocity предлагает приобрести Втулка уплотнения SYM GTS 300 производства SYM parts. Втулка, артикул 23237-HMA-000подходит для применения в мототехнике GTS300i. Для проверки совместимости рекомендуем воспользоваться нашим сервисом подбора запчастей. Стоимость Втулка уплотнения SYM GTS 300 составляет 545 руб. без учета доставки. Осуществляем обмен или возврат товара в течение 14 дней с момента покупки.
23237-HMA-000
23237HMA000

Подбор запчастей Сцепление Двигатель CityCom 300 (LH30W-6) CityCom 300 SYM
Смотреть
Подбор запчастей Сцепление Двигатель GTS 250 (LM25W-6_edited) GTS 250 SYM
Смотреть
Подбор запчастей Сцепление Двигатель GTS 300i EFI (LM30W-6) GTS 300i SYM
Смотреть
Подбор запчастей Ведомый шкив Двигатель ATV 250 SYM
Смотреть
Подбор запчастей Сцепление Двигатель ATV 300 (UA30A-6) ATV 300 SYM
СмотретьДоставка