Ссылка скопирована
Ссылка не скопирована
Арт. 709

Автобагажник на заднюю дверь Peruzzo PURE INSTINCT, сталь, для 2 в-дов, суммарно до 45 кг, допускают, арт. 709

Автобагажник на заднюю дверь Peruzzo PURE INSTINCT, сталь, для 2 в-дов, суммарно до 45 кг, допускают
Автобагажник на заднюю дверь Peruzzo PURE INSTINCT, сталь, для 2 в-дов, суммарно до 45 кг, допускают
Автобагажник на заднюю дверь Peruzzo PURE INSTINCT, сталь, для 2 в-дов, суммарно до 45 кг, допускают
Автобагажник на заднюю дверь Peruzzo PURE INSTINCT, сталь, для 2 в-дов, суммарно до 45 кг, допускают
Автобагажник на заднюю дверь Peruzzo PURE INSTINCT, сталь, для 2 в-дов, суммарно до 45 кг, допускают
Автобагажник на заднюю дверь Peruzzo PURE INSTINCT, сталь, для 2 в-дов, суммарно до 45 кг, допускают
Автобагажник на заднюю дверь Peruzzo PURE INSTINCT, сталь, для 2 в-дов, суммарно до 45 кг, допускают
Автобагажник на заднюю дверь Peruzzo PURE INSTINCT, сталь, для 2 в-дов, суммарно до 45 кг, допускают

Основные характеристики

Тип товара Автобагажник
Производитель Peruzzo
Маскимальная нагрузка 45 кг
Тип багажника На заднюю дверь
Страна производства КНР
Цвет Черный
Модель PURE INSTINCT
Наличие Да
Оставить отзыв
Оценка
Данные указаны неверно, пожалуйста, проверьте правильность информации
Подбор запчастей Поршень 1P44FMC (KTM50) Двигатели
Подбор запчастей Поршень 1P44FMC (KTM50) Двигатели
Смотреть
Подбор запчастей Картер (коленвал) 1P44FMC (KTM50) Двигатели
Подбор запчастей Картер (коленвал) 1P44FMC (KTM50) Двигатели
Смотреть
Подбор запчастей Сцепление TYX300-2 (BSE300R) Двигатели
Подбор запчастей Сцепление TYX300-2 (BSE300R) Двигатели
Смотреть
Подбор запчастей Крепление ГБЦ TYX300-2 (BSE300R) Двигатели
Подбор запчастей Крепление ГБЦ TYX300-2 (BSE300R) Двигатели
Смотреть
Подбор запчастей Двигатель в сборе TYX300-2 (BSE300R) Двигатели
Подбор запчастей Двигатель в сборе TYX300-2 (BSE300R) Двигатели
Смотреть
Подбор запчастей Картер двигателя правый TYX300-2 (BSE300R) Двигатели
Подбор запчастей Картер двигателя правый TYX300-2 (BSE300R) Двигатели
Смотреть
Подбор запчастей Крышка картера правая TYX300-2 (BSE300R) Двигатели
Подбор запчастей Крышка картера правая TYX300-2 (BSE300R) Двигатели
Смотреть
Подбор запчастей ГБЦ TYX300-2 (BSE300R) Двигатели
Подбор запчастей ГБЦ TYX300-2 (BSE300R) Двигатели
Смотреть
Подбор запчастей Голова цилиндра в сборе ZS194MQ (NC450) #2 Двигатели
Подбор запчастей Голова цилиндра в сборе ZS194MQ (NC450) #2 Двигатели
Смотреть
Подбор запчастей Руль и тормоза RTC-300R Y (M4Y) ПТС RTC-300R Y BSE
Подбор запчастей Руль и тормоза RTC-300R Y (M4Y) ПТС RTC-300R Y BSE
Смотреть
Подбор запчастей Руль и тормоза M4 (101310017) с 2022 M4 BSE
Подбор запчастей Руль и тормоза M4 (101310017) с 2022 M4 BSE
Смотреть
Подбор запчастей Руль и тормоза М8 (101330011) с 2020 M8 BSE
Подбор запчастей Руль и тормоза М8 (101330011) с 2020 M8 BSE
Смотреть
Подбор запчастей Картер двигателя правый TYX250-SR Двигатели
Подбор запчастей Картер двигателя правый TYX250-SR Двигатели
Смотреть
Подбор запчастей Правая крышка картера TYX250-SR Двигатели
Подбор запчастей Правая крышка картера TYX250-SR Двигатели
Смотреть
Подбор запчастей ГБЦ TYX250-SR Двигатели
Подбор запчастей ГБЦ TYX250-SR Двигатели
Смотреть
Подбор запчастей Сцепление TYX250-SR Двигатели
Подбор запчастей Сцепление TYX250-SR Двигатели
Смотреть
Подбор запчастей Крепление ГБЦ TYX250-SR Двигатели
Подбор запчастей Крепление ГБЦ TYX250-SR Двигатели
Смотреть
Подбор запчастей Двигатель в сборе TYX250-SR Двигатели
Подбор запчастей Двигатель в сборе TYX250-SR Двигатели
Смотреть
Подбор запчастей Крышка головки блока цилиндров в сборе TY250-S Двигатели
Подбор запчастей Крышка головки блока цилиндров в сборе TY250-S Двигатели
Смотреть
Подбор запчастей Сборка головки блока цилиндров TY250-S Двигатели
Подбор запчастей Сборка головки блока цилиндров TY250-S Двигатели
Смотреть
Подбор запчастей Сборка масляного насоса TY250-S Двигатели
Подбор запчастей Сборка масляного насоса TY250-S Двигатели
Смотреть
Подбор запчастей Сборка механизма переключения передач TY250-S Двигатели
Подбор запчастей Сборка механизма переключения передач TY250-S Двигатели
Смотреть
Подбор запчастей Сборка стартового двигателя TY250-S Двигатели
Подбор запчастей Сборка стартового двигателя TY250-S Двигатели
Смотреть
Подбор запчастей Приводная цепь TY250-S Двигатели
Подбор запчастей Приводная цепь TY250-S Двигатели
Смотреть
Подбор запчастей Картер ZS172FMM-7 (CB250RL) MJZBS4D06 Двигатели
Подбор запчастей Картер ZS172FMM-7 (CB250RL) MJZBS4D06 Двигатели
Смотреть
Подбор запчастей Руль и тормоза T8-X6 (101410002) T8 BSE
Подбор запчастей Руль и тормоза T8-X6 (101410002) T8 BSE
Смотреть
Подбор запчастей Руль и тормоза Z9 (101360036) Z9 BSE
Подбор запчастей Руль и тормоза Z9 (101360036) Z9 BSE
Смотреть
Подбор запчастей Дополнительно Z3L (101210057) Z3L BSE
Подбор запчастей Дополнительно Z3L (101210057) Z3L BSE
Смотреть
Подбор запчастей Руль и тормоза T5 (X5) (101411000, 101411001) T5 BSE
Подбор запчастей Руль и тормоза T5 (X5) (101411000, 101411001) T5 BSE
Смотреть
Подбор запчастей ГОЛОВКА ЦИЛИНДРА В СБОРЕ ZS174MN-5 (NB300) Двигатели
Подбор запчастей ГОЛОВКА ЦИЛИНДРА В СБОРЕ ZS174MN-5 (NB300) Двигатели
Смотреть
Подбор запчастей Руль и тормоза Z10L (J10) 2022 (101270019) Z10L BSE
Подбор запчастей Руль и тормоза Z10L (J10) 2022 (101270019) Z10L BSE
Смотреть
Подбор запчастей Руль и тормоза Z1Y (101250039) Z1Y BSE
Подбор запчастей Руль и тормоза Z1Y (101250039) Z1Y BSE
Смотреть
Подбор запчастей Масляный насос ZS182MN (NC300S) Двигатели
Подбор запчастей Масляный насос ZS182MN (NC300S) Двигатели
Смотреть
Подбор запчастей Руль и тормоза T8-X6 (101410001) T8 BSE
Подбор запчастей Руль и тормоза T8-X6 (101410001) T8 BSE
Смотреть
Подбор запчастей Задний свет Кузов/Электрика Allo 125 SYM
Подбор запчастей Задний свет Кузов/Электрика Allo 125 SYM
Смотреть
Подбор запчастей Задняя рама Кузов/Электрика ATV 300 (UA30A-6) ATV 300 SYM
Подбор запчастей Задняя рама Кузов/Электрика ATV 300 (UA30A-6) ATV 300 SYM
Смотреть
Подбор запчастей Бензобак Кузов/Электрика ATV 600 (UA60A-6) ATV 600 SYM
Подбор запчастей Бензобак Кузов/Электрика ATV 600 (UA60A-6) ATV 600 SYM
Смотреть
Подбор запчастей Механизм заднего тормоза в сборе Кузов/Электрика ATV 600 (UA60A-6) ATV 600 SYM
Подбор запчастей Механизм заднего тормоза в сборе Кузов/Электрика ATV 600 (UA60A-6) ATV 600 SYM
Смотреть
Подбор запчастей Бензобак Кузов/Электрика ATV 600 LE ATV 600 SYM
Подбор запчастей Бензобак Кузов/Электрика ATV 600 LE ATV 600 SYM
Смотреть
Подбор запчастей Механизм заднего тормоза в сборе Кузов/Электрика ATV 600 LE ATV 600 SYM
Подбор запчастей Механизм заднего тормоза в сборе Кузов/Электрика ATV 600 LE ATV 600 SYM
Смотреть
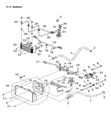
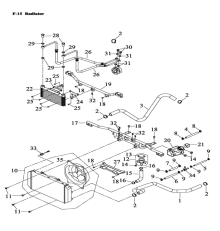
Подбор запчастей Радиатор QR 700 Access Motor
Подбор запчастей Радиатор QR 700 Access Motor
Смотреть
Подбор запчастей Руль и тормоза Z2 (101240036) Z2 BSE
Подбор запчастей Руль и тормоза Z2 (101240036) Z2 BSE
Смотреть
Подбор запчастей Руль и тормоза Z2 (101240037) Z2 BSE
Подбор запчастей Руль и тормоза Z2 (101240037) Z2 BSE
Смотреть
Подбор запчастей Руль и тормоза Z2 (c 2021) 19/16 USB белый пластик (101240032) Z2 BSE
Подбор запчастей Руль и тормоза Z2 (c 2021) 19/16 USB белый пластик (101240032) Z2 BSE
Смотреть
Подбор запчастей Руль и тормоза Z2 (c 2021) 21/18 USB белый пластик (101240031) Z2 BSE
Подбор запчастей Руль и тормоза Z2 (c 2021) 21/18 USB белый пластик (101240031) Z2 BSE
Смотреть
Подбор запчастей Руль и тормоза Z2 (c 2021) 19/16 USB чёрный пластик (101240024) Z2 BSE
Подбор запчастей Руль и тормоза Z2 (c 2021) 19/16 USB чёрный пластик (101240024) Z2 BSE
Смотреть
Подбор запчастей Руль и тормоза Z2 (с 2021) 21/18 USB чёрный пластик (101240023) Z2 BSE
Подбор запчастей Руль и тормоза Z2 (с 2021) 21/18 USB чёрный пластик (101240023) Z2 BSE
Смотреть
Подбор запчастей Руль и тормоза Z3 (101210049) Z3 BSE
Подбор запчастей Руль и тормоза Z3 (101210049) Z3 BSE
Смотреть
Подбор запчастей Дополнительно Z3 (101210049) Z3 BSE
Подбор запчастей Дополнительно Z3 (101210049) Z3 BSE
Смотреть
Подбор запчастей Руль и тормоза Z3 21/18 (101210051) Z3 BSE
Подбор запчастей Руль и тормоза Z3 21/18 (101210051) Z3 BSE
Смотреть
Подбор запчастей Руль и тормоза Z3 19/16 (101210050) Z3 BSE
Подбор запчастей Руль и тормоза Z3 19/16 (101210050) Z3 BSE
Смотреть
Подбор запчастей Руль и тормоза Z3 2022 19/16 USB (101210039) Z3 BSE
Подбор запчастей Руль и тормоза Z3 2022 19/16 USB (101210039) Z3 BSE
Смотреть
Подбор запчастей Дополнительно Z3 2022 19/16 USB (101210039) Z3 BSE
Подбор запчастей Дополнительно Z3 2022 19/16 USB (101210039) Z3 BSE
Смотреть
Подбор запчастей Руль и тормоза Z3 2022 21/18 USB (101210040) Z3 BSE
Подбор запчастей Руль и тормоза Z3 2022 21/18 USB (101210040) Z3 BSE
Смотреть
Подбор запчастей Дополнительно Z3 2022 21/18 USB (101210040) Z3 BSE
Подбор запчастей Дополнительно Z3 2022 21/18 USB (101210040) Z3 BSE
Смотреть
Подбор запчастей Руль и тормоза Z3 2021 19/16 (101210013) Z3 BSE
Подбор запчастей Руль и тормоза Z3 2021 19/16 (101210013) Z3 BSE
Смотреть
Подбор запчастей Дополнительно Z3 2021 19/16 (101210013) Z3 BSE
Подбор запчастей Дополнительно Z3 2021 19/16 (101210013) Z3 BSE
Смотреть
Подбор запчастей Руль и тормоза Z3 2020-2021 19/16 (101210013, 101210012) Z3 BSE
Подбор запчастей Руль и тормоза Z3 2020-2021 19/16 (101210013, 101210012) Z3 BSE
Смотреть
Подбор запчастей Дополнительно Z3 2020-2021 19/16 (101210013, 101210012) Z3 BSE
Подбор запчастей Дополнительно Z3 2020-2021 19/16 (101210013, 101210012) Z3 BSE
Смотреть
Подбор запчастей Руль и тормоза Z3 2020-2021 21/18 (101210014, 101210015) Z3 BSE
Подбор запчастей Руль и тормоза Z3 2020-2021 21/18 (101210014, 101210015) Z3 BSE
Смотреть
Подбор запчастей Дополнительно Z3 2020-2021 21/18 (101210014, 101210015) Z3 BSE
Подбор запчастей Дополнительно Z3 2020-2021 21/18 (101210014, 101210015) Z3 BSE
Смотреть
Подбор запчастей Руль и тормоза Z3Y (101210037, 121210037) Z3Y BSE
Подбор запчастей Руль и тормоза Z3Y (101210037, 121210037) Z3Y BSE
Смотреть
Подбор запчастей Дополнительно Z3Y (101210037, 121210037) Z3Y BSE
Подбор запчастей Дополнительно Z3Y (101210037, 121210037) Z3Y BSE
Смотреть
Подбор запчастей Руль и тормоза Z3Y 2020-2021 (101210010) Z3Y BSE
Подбор запчастей Руль и тормоза Z3Y 2020-2021 (101210010) Z3Y BSE
Смотреть
Подбор запчастей Дополнительно Z3Y 2020-2021 (101210010) Z3Y BSE
Подбор запчастей Дополнительно Z3Y 2020-2021 (101210010) Z3Y BSE
Смотреть
Подбор запчастей Руль и тормоза Z3Y 2020-2021 (101210011) Z3Y BSE
Подбор запчастей Руль и тормоза Z3Y 2020-2021 (101210011) Z3Y BSE
Смотреть
Подбор запчастей Дополнительно Z3Y 2020-2021 (101210011) Z3Y BSE
Подбор запчастей Дополнительно Z3Y 2020-2021 (101210011) Z3Y BSE
Смотреть
Подбор запчастей Руль и тормоза Z4 (2022) (101360025) Z4 BSE
Подбор запчастей Руль и тормоза Z4 (2022) (101360025) Z4 BSE
Смотреть
Подбор запчастей Руль и тормоза Z5 (101360034, 101360035) Z5 BSE
Подбор запчастей Руль и тормоза Z5 (101360034, 101360035) Z5 BSE
Смотреть
Подбор запчастей Руль и тормоза Z5 (101360026) Z5 BSE
Подбор запчастей Руль и тормоза Z5 (101360026) Z5 BSE
Смотреть
Подбор запчастей Руль и тормоза Z6 (101280016) Z6 BSE
Подбор запчастей Руль и тормоза Z6 (101280016) Z6 BSE
Смотреть
Подбор запчастей Руль и тормоза Z6 (101280017) Z6 BSE
Подбор запчастей Руль и тормоза Z6 (101280017) Z6 BSE
Смотреть
Подбор запчастей Руль и тормоза Z6 BSE
Подбор запчастей Руль и тормоза Z6 BSE
Смотреть
Подбор запчастей Руль и тормоза Z6Y (101280018) Z6Y BSE
Подбор запчастей Руль и тормоза Z6Y (101280018) Z6Y BSE
Смотреть
Подбор запчастей Руль и тормоза Z6Y (101280012) Z6Y BSE
Подбор запчастей Руль и тормоза Z6Y (101280012) Z6Y BSE
Смотреть
Подбор запчастей Руль и тормоза Z6Y (с ПТС) Z6Y BSE
Подбор запчастей Руль и тормоза Z6Y (с ПТС) Z6Y BSE
Смотреть
Подбор запчастей Руль и тормоза Z7 (101220016) Z7 BSE
Подбор запчастей Руль и тормоза Z7 (101220016) Z7 BSE
Смотреть
Подбор запчастей Руль и тормоза Z7 (101220018) Z7 BSE
Подбор запчастей Руль и тормоза Z7 (101220018) Z7 BSE
Смотреть
Подбор запчастей Руль и тормоза Z7 (101220019) Z7 BSE
Подбор запчастей Руль и тормоза Z7 (101220019) Z7 BSE
Смотреть
Подбор запчастей Руль и тормоза Z7 (101220020) Z7 BSE
Подбор запчастей Руль и тормоза Z7 (101220020) Z7 BSE
Смотреть
Подбор запчастей Руль и тормоза Z7 BSE
Подбор запчастей Руль и тормоза Z7 BSE
Смотреть
Подбор запчастей Руль и тормоза Z8 (101290014) Z8 BSE
Подбор запчастей Руль и тормоза Z8 (101290014) Z8 BSE
Смотреть
Подбор запчастей Руль и тормоза Z8 (101290013) Z8 BSE
Подбор запчастей Руль и тормоза Z8 (101290013) Z8 BSE
Смотреть
Подбор запчастей Руль и тормоза Z8 (2022) Z8 BSE
Подбор запчастей Руль и тормоза Z8 (2022) Z8 BSE
Смотреть
Подбор запчастей Дополнительно Z8 (2022) Z8 BSE
Подбор запчастей Дополнительно Z8 (2022) Z8 BSE
Смотреть
Подбор запчастей Руль и тормоза Z8 BSE
Подбор запчастей Руль и тормоза Z8 BSE
Смотреть
Подбор запчастей Дополнительно Z8 BSE
Подбор запчастей Дополнительно Z8 BSE
Смотреть
Подбор запчастей Руль и тормоза Z10 BSE
Подбор запчастей Руль и тормоза Z10 BSE
Смотреть
Подбор запчастей Руль и тормоза Z11 BSE
Подбор запчастей Руль и тормоза Z11 BSE
Смотреть
Подбор запчастей Руль и тормоза XT-1 (SA110) (150020002) XT-1 BSE
Подбор запчастей Руль и тормоза XT-1 (SA110) (150020002) XT-1 BSE
Смотреть
Подбор запчастей Руль и тормоза XT-1 (SA110) (150020003) XT-1 BSE
Подбор запчастей Руль и тормоза XT-1 (SA110) (150020003) XT-1 BSE
Смотреть
Подбор запчастей Руль и тормоза XT-1 (SA110) (150020017) XT-1 BSE
Подбор запчастей Руль и тормоза XT-1 (SA110) (150020017) XT-1 BSE
Смотреть
Подбор запчастей Дополнительно XT-1U (150021000, 150021001, 150021002, 150021003) XT-1U BSE
Подбор запчастей Дополнительно XT-1U (150021000, 150021001, 150021002, 150021003) XT-1U BSE
Смотреть
Подбор запчастей Управление выпуском XN85 XN85 Koshine
Подбор запчастей Управление выпуском XN85 XN85 Koshine
Смотреть
Подбор запчастей Управление выпуском XN105 XN105 Koshine
Подбор запчастей Управление выпуском XN105 XN105 Koshine
Смотреть
Подбор запчастей Руль и тормоза T7 (101413000) T7 BSE
Подбор запчастей Руль и тормоза T7 (101413000) T7 BSE
Смотреть
Подбор запчастей Головка цилиндра ZS154FMI-2 (S125-S) [30.114.4071] Двигатели
Подбор запчастей Головка цилиндра ZS154FMI-2 (S125-S) [30.114.4071] Двигатели
Смотреть
Подбор запчастей Картер ZS172FMM-7 (CB250RL) MJBS4D06 [30.123.2502] Двигатели
Подбор запчастей Картер ZS172FMM-7 (CB250RL) MJBS4D06 [30.123.2502] Двигатели
Смотреть
Подбор запчастей Крышка картера XN125\150 XN125\150 Koshine
Подбор запчастей Крышка картера XN125\150 XN125\150 Koshine
Смотреть
Подбор запчастей Управление выхлопной системой XN125\150 XN125\150 Koshine
Подбор запчастей Управление выхлопной системой XN125\150 XN125\150 Koshine
Смотреть
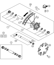
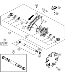
Подбор запчастей Колесо переднее XN125\150 XN125\150 Koshine
Подбор запчастей Колесо переднее XN125\150 XN125\150 Koshine
Смотреть
Подбор запчастей ГОЛОВКА ЦИЛИНДРА В СБОРЕ ZS174MN-5 (NB300) [30.124.0600] Двигатели
Подбор запчастей ГОЛОВКА ЦИЛИНДРА В СБОРЕ ZS174MN-5 (NB300) [30.124.0600] Двигатели
Смотреть
Подбор запчастей Масляный насос ZS182MN (NC300S) [30.124.1501] Двигатели
Подбор запчастей Масляный насос ZS182MN (NC300S) [30.124.1501] Двигатели
Смотреть
Подбор запчастей  Картер двигателя правый TYX300-SR Двигатели
Подбор запчастей Картер двигателя правый TYX300-SR Двигатели
Смотреть
Подбор запчастей Правая крышка картера TYX300-SR Двигатели
Подбор запчастей Правая крышка картера TYX300-SR Двигатели
Смотреть
Подбор запчастей ГБЦ TYX300-SR Двигатели
Подбор запчастей ГБЦ TYX300-SR Двигатели
Смотреть
Подбор запчастей Сцепление TYX300-SR Двигатели
Подбор запчастей Сцепление TYX300-SR Двигатели
Смотреть
Подбор запчастей  Крепление ГБЦ TYX300-SR Двигатели
Подбор запчастей Крепление ГБЦ TYX300-SR Двигатели
Смотреть
Подбор запчастей Двигатель в сборе TYX300-SR Двигатели
Подбор запчастей Двигатель в сборе TYX300-SR Двигатели
Смотреть
Подбор запчастей Голова цилиндра в сборе ZS194MQ (NC450) [30.125.0011] Двигатели
Подбор запчастей Голова цилиндра в сборе ZS194MQ (NC450) [30.125.0011] Двигатели
Смотреть
Подбор запчастей Крышки картера Двигатель XN320 Koshine
Подбор запчастей Крышки картера Двигатель XN320 Koshine
Смотреть
Подбор запчастей Узел кикстартера Двигатель XN320 Koshine
Подбор запчастей Узел кикстартера Двигатель XN320 Koshine
Смотреть
Подбор запчастей Колесо переднее Шасси XN320 Koshine
Подбор запчастей Колесо переднее Шасси XN320 Koshine
Смотреть
Подбор запчастей КАРТЕР ZS172FMM-5 (PR250) Двигатели
Подбор запчастей КАРТЕР ZS172FMM-5 (PR250) Двигатели
Смотреть
Подбор запчастей Руль и тормоза T8-X6 (101410006) Sport T8 BSE
Подбор запчастей Руль и тормоза T8-X6 (101410006) Sport T8 BSE
Смотреть
Подбор запчастей Руль и тормоза T9 (101414001) T9 BSE
Подбор запчастей Руль и тормоза T9 (101414001) T9 BSE
Смотреть
Подбор запчастей Руль и тормоза T4 (101411500) T4 BSE
Подбор запчастей Руль и тормоза T4 (101411500) T4 BSE
Смотреть
Подбор запчастей Руль и тормоза T5 (X5) (101411005) T5 BSE
Подбор запчастей Руль и тормоза T5 (X5) (101411005) T5 BSE
Смотреть
Подбор запчастей Руль и тормоза Z3 V (101210068, 101210077) Z3V BSE
Подбор запчастей Руль и тормоза Z3 V (101210068, 101210077) Z3V BSE
Смотреть
Подбор запчастей Руль и тормоза T7 (101413001) T7 BSE
Подбор запчастей Руль и тормоза T7 (101413001) T7 BSE
Смотреть
Подбор запчастей Руль и тормоза Z3 V (101210089) Z3V BSE
Подбор запчастей Руль и тормоза Z3 V (101210089) Z3V BSE
Смотреть
Подбор запчастей Руль и тормоза Z3 V (101210078) Z3V BSE
Подбор запчастей Руль и тормоза Z3 V (101210078) Z3V BSE
Смотреть
Подбор запчастей Дополнительно M2 (101300013) M2 BSE
Подбор запчастей Дополнительно M2 (101300013) M2 BSE
Смотреть
Подбор запчастей Дополнительно M2Y (101300015) M2Y BSE
Подбор запчастей Дополнительно M2Y (101300015) M2Y BSE
Смотреть
Подбор запчастей Дополнительно RTC300 (101310019, 101310020) RTC-300R BSE
Подбор запчастей Дополнительно RTC300 (101310019, 101310020) RTC-300R BSE
Смотреть
Подбор запчастей Руль и тормоза Z3 (101210045) Z3 BSE
Подбор запчастей Руль и тормоза Z3 (101210045) Z3 BSE
Смотреть
Подбор запчастей Дополнительно Z3 (101210045) Z3 BSE
Подбор запчастей Дополнительно Z3 (101210045) Z3 BSE
Смотреть
Подбор запчастей Руль и тормоза Z1Y (101250057) Z1Y BSE
Подбор запчастей Руль и тормоза Z1Y (101250057) Z1Y BSE
Смотреть
Подбор запчастей Руль и тормоза Z10 BSE
Подбор запчастей Руль и тормоза Z10 BSE
Смотреть
Подбор запчастей Дополнительно PH12A Z1 (101250048) Z1 BSE
Подбор запчастей Дополнительно PH12A Z1 (101250048) Z1 BSE
Смотреть
Подбор запчастей Руль и тормоза Z9 (101360043) Z9 BSE
Подбор запчастей Руль и тормоза Z9 (101360043) Z9 BSE
Смотреть
Подбор запчастей Руль и тормоза Z5L (101360044, 101360050) Z5L BSE
Подбор запчастей Руль и тормоза Z5L (101360044, 101360050) Z5L BSE
Смотреть
Подбор запчастей Руль и тормоза Z3Y 21/18 (101210084,   101210088) Z3Y BSE
Подбор запчастей Руль и тормоза Z3Y 21/18 (101210084, 101210088) Z3Y BSE
Смотреть
Подбор запчастей Руль и тормоза Z3Y 21/18 (101210073) Z3Y BSE
Подбор запчастей Руль и тормоза Z3Y 21/18 (101210073) Z3Y BSE
Смотреть
Подбор запчастей Руль и тормоза Z8 21/18 (101240014) Z8 BSE
Подбор запчастей Руль и тормоза Z8 21/18 (101240014) Z8 BSE
Смотреть
Подбор запчастей Руль и тормоза Z8 21/18 (101290015) Z8 BSE
Подбор запчастей Руль и тормоза Z8 21/18 (101290015) Z8 BSE
Смотреть

Аналогичные товары

Скидка
В наличии
Арт. RB_36210001001 Автобагажник ROCKBROS на крышу с электро присоской, на 3 велосипеда с сигнализацией. 3 отзыва
59 800₽ - 17%
49 900₽