Запчасти SYM Багажное отделение Кузов/Электрика - в наличии на складе и под заказ!

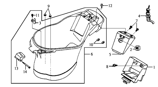
Багажное отделение
Наименование
Артикул
Кол-во в узле
Цена
Наличие
Аналоги
Наименование
1
Кол-во в узле
Цена
50325-KBN-900
1
270 ₽
Наименование
2
Кол-во в узле
Цена
50352-GJ3-600
1
115 ₽
Наименование
3
77106-GS6-000
Кол-во в узле
Цена
77106-GS6-000
1
Наименование
4
Кол-во в узле
Цена
77225-G22-000
1
362 ₽
Наименование
5
81251-GAK-940
Кол-во в узле
Цена
81251-GAK-940
1
Наименование
5_2004
81251-GAK-800-G0
Кол-во в узле
Цена
81251-GAK-800-G0
1
Наименование
5_2006
8125B-E69-100-GO
Кол-во в узле
Цена
8125B-E69-100-GO
1
Наименование
6_2003
Кол-во в узле
Цена
8125A-T65-000
1
1 408 ₽
Наименование
7
90101-KBN-900
Кол-во в узле
Цена
90101-KBN-900
2
Наименование
8_2003
Кол-во в узле
Цена
90111-M9Q-900
1
30 ₽
Наименование
9
90201-415-000
Кол-во в узле
Цена
90201-415-000
2
Наименование
10
90320-HB9-000
Кол-во в узле
Цена
90320-HB9-000
2
Наименование
11
93891-06010-08
Кол-во в узле
Цена
93891-06010-08
1
Наименование
12
Кол-во в узле
Цена
93404-06025-07
2
27 ₽
Наименование
13
77201-GS6-000
Кол-во в узле
Цена
77201-GS6-000
1
Наименование
14
90105-GS6-000
Кол-во в узле
Цена
90105-GS6-000
1