Запчасти SYM Маятник задней подвески Кузов/Электрика - в наличии на складе и под заказ!

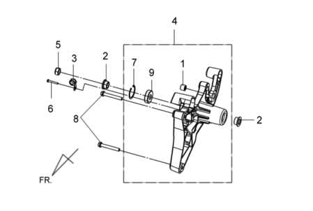
Маятник задней подвески
Наименование
Артикул
Кол-во в узле
Цена
Наличие
Аналоги
Наименование
1
Кол-во в узле
Цена
11203-GC7-300
1
299 ₽
Подобрать аналоги
Наименование
2
Кол-во в узле
Цена
42311-H9A-000
2
590 ₽
Наименование
3
Кол-во в узле
Цена
45156-HMA-000
1
111 ₽
Наименование
4
Маятник задний
5210A-L3A-000-IL
Кол-во в узле
Цена
5210A-L3A-000-IL
1
10 109 ₽
Наименование
5
Кол-во в узле
Цена
90305-M9Q-900
1
445 ₽
Наименование
6
93891-05050-07
Кол-во в узле
Цена
93891-05050-07
1
Наименование
7
Кол-во в узле
Цена
94524-47000
1
53 ₽
Наименование
8
Кол-во в узле
Цена
95801-10075-07
2
139 ₽
Наименование
9
Кол-во в узле
Цена
96150-63033-10
1
1 051 ₽