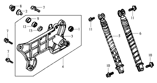
Запчасти SYM Задние амортизаторы Кузов/Электрика - в наличии на складе и под заказ!

Задние амортизаторы
Наименование
Артикул
Кол-во в узле
Цена
Наличие
Аналоги
Наименование
1
Сайлентблок
11203-M9Q-300
Кол-во в узле
Цена
11203-M9Q-300
1
206 ₽
Подобрать аналоги
Наименование
1
Кол-во в узле
Цена
11203-GC7-300
1
299 ₽
Подобрать аналоги
Наименование
2
Кол-во в узле
Цена
42311-H9A-000
1
590 ₽
Наименование
3
52100-H9A-000
Кол-во в узле
Цена
52100-H9A-000
1
Наименование
4
Кол-во в узле
Цена
5210A-H9A-000
1
5 032 ₽
Наименование
5
Кол-во в узле
Цена
52400-H9B-002
1
2 608 ₽
Подобрать аналоги
Наименование
6
Кол-во в узле
Цена
52450-H9B-002
1
4 193 ₽
Подобрать аналоги
Наименование
7
90104-HTA-000
Кол-во в узле
Цена
90104-HTA-000
2
Наименование
8
Кол-во в узле
Цена
90305-KBN-902-M2
1
302 ₽
Наименование
9
Сальник 26x47x7
90754-H9A-000
Кол-во в узле
Цена
90754-H9A-000
1
220 ₽
Наименование
10
Кол-во в узле
Цена
95801-08035-07
2
47 ₽
Наименование
11
Кол-во в узле
Цена
95801-10040-08
2
95 ₽
Наименование
12
Кол-во в узле
Цена
91051-H9A-000
1
414 ₽
Наименование
13
Сальник 26x35x7
90755-H3C-000
Кол-во в узле
Цена
90755-H3C-000
1
196 ₽