Запчасти SYM Крышка вариатора Двигатель - в наличии на складе и под заказ!

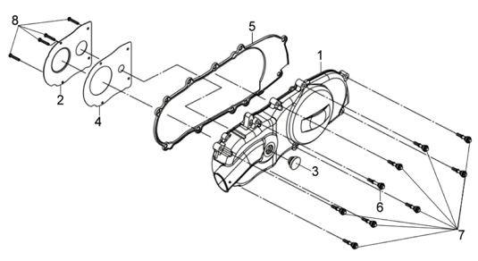
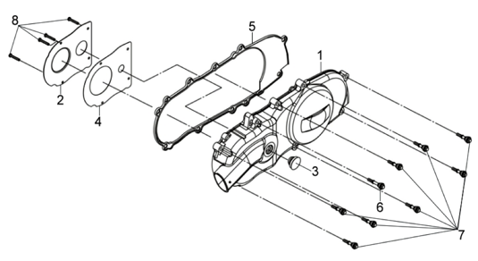
Крышка вариатора
Наименование
Артикул
Кол-во в узле
Цена
Наличие
Аналоги
Наименование
1
Кол-во в узле
Цена
11341-H9A-000
1
6 618 ₽
Наименование
2
Кол-во в узле
Цена
11346-H9A-000
1
341 ₽
Наименование
3
Колпачок
11348-LTA-000
Кол-во в узле
Цена
11348-LTA-000
1
59 ₽
Наименование
4
Кол-во в узле
Цена
11349-H9A-000
1
120 ₽
Наименование
5
Кол-во в узле
Цена
11395-H9A-000
1
678 ₽
Наименование
6
Болт спец 6х57
9000A-M9Q-000
Кол-во в узле
Цена
9000A-M9Q-000
1
111 ₽
Наименование
7
Кол-во в узле
Цена
9000B-M9Q-000
8
239 ₽
Наименование
8
Винт 5х12
93500-05012-0H
Кол-во в узле
Цена
93500-05012-0H
4
15 ₽