Запчасти SYM Коленчатый вал Двигатель - в наличии на складе и под заказ!

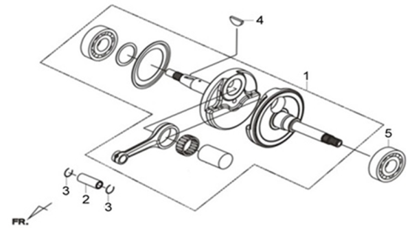
Коленчатый вал
Наименование
Артикул
Кол-во в узле
Цена
Наличие
Аналоги
Наименование
1
13000-LH3-000
Кол-во в узле
Цена
13000-LH3-000
1
Наименование
2
Кол-во в узле
Цена
13111-HMA-000
1
309 ₽
Наименование
3
Кол-во в узле
Цена
90601-HMA-000
2
46 ₽
Наименование
4
Кол-во в узле
Цена
90701-HB6-010
1
50 ₽
Подобрать аналоги
Наименование
5
91001-XTD-000
Кол-во в узле
Цена
91001-XTD-000
1