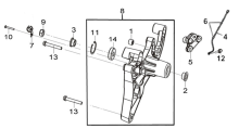
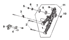
Стопорное кольцо 47мм, арт. 94524-47000

Самовывоз...
Доставка...
Доставка
Основные характеристики
Компания Velocity предлагает приобрести Стопорное кольцо 47мм SYM Symphony 125; JoyRide 200; JoyMax 300; GTS 300; Maxsym 400 производства SYM parts. , артикул 94524-47000подходит для применения в мототехнике SYMPHONY 125SR, JOYRIDE 200i, JOYMAX 300i ABS, GTS300i, MAXSYM 400. Для проверки совместимости рекомендуем воспользоваться нашим сервисом подбора запчастей. Стоимость Стопорное кольцо 47мм SYM Symphony 125; JoyRide 200; JoyMax 300; GTS 300; Maxsym 400 составляет 53 руб. без учета доставки. Осуществляем обмен или возврат товара в течение 14 дней с момента покупки.
94524-47000
9452447000

Подбор запчастей Заднее колесо / амортизаторы Кузов/Электрика CityCom 300 (LH30W-6) CityCom 300 SYM
Смотреть
Подбор запчастей Заднее колесо Кузов/Электрика GTS 250 (LM25W-6_edited) GTS 250 SYM
Смотреть
Подбор запчастей Заднее колесо Кузов/Электрика GTS 300i EFI (LM30W-6) GTS 300i SYM
Смотреть
Подбор запчастей Маятник задней подвески Кузов/Электрика JoyMax 300i JoyMax 300i SYM
Смотреть
Подбор запчастей Заднее колесо Кузов/Электрика JoyRide 200 EFI (LF18W-6) JoyRide 200 SYM
Смотреть
Подбор запчастей Амортизатор задний Рама CRUISYM (LV30W3-EU) CRUISYM SYM
Смотреть
Подбор запчастей Маятник задней подвески Кузов/Электрика MaxSYM 400i (LX40A1-6-L4A ) MaxSYM 400 SYM
Смотреть
Подбор запчастей Маятник задней подвески Кузов/Электрика MaxSYM 400i ABS MaxSYM 400 SYM
Смотреть
Подбор запчастей Заднее колесо Кузов/Электрика Symphony SR-125 (AZ12W1-T) до 2017 Symphony SR-125 SYM
Смотреть
Подбор запчастей Заднее колесо Рама Symphony ST 200 (XL20W1-EU) Symphony ST-200 SYM
Смотреть
Подбор запчастей Задняя вилка Рама JoyRide 300 LJ30W1-EU JoyRide 300 SYM
СмотретьДоставка