Запчасти  SYM Руль Кузов/электрика - в наличии на складе и под заказ!
                    
                    
                                                                            
             
            
    
        
        
    
        
            
                
            
                
                 
                         
            
                
                    
                    
                        Наименование
                    
                    Артикул
                    
                        Кол-во в узле
                    
                                            Цена
                                        Наличие
                    Аналоги
                 
                                                        
                        
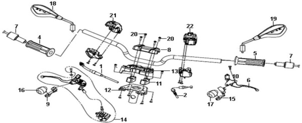
                            №
                        
                        
                            Наименование
                        
                        1
                        
                        
                            Кол-во в узле
                        
                        
                            Цена
                        
                        
                        1
                        
                                                                                        1 750 ₽
                                                    
                        
                                                            
                                                    
                                             
                                                        
                        
                            №
                        
                        
                            Наименование
                        
                        2
                        
                        
                            Кол-во в узле
                        
                        
                            Цена
                        
                        
                        1
                        
                                                                                        1 067 ₽
                                                    
                        
                                                            
                                                    
                                             
                                                        
                        
                            №
                        
                        
                            Наименование
                        
                        4
                        
                        
                            Кол-во в узле
                        
                        
                            Цена
                        
                        
                        1
                        
                                                                                        397 ₽
                                                    
                        
                                                            
                                                    
                                             
                                                        
                        
                            №
                        
                        
                            Наименование
                        
                        5
                        
                        
                            Кол-во в узле
                        
                        
                            Цена
                        
                        
                        1
                        
                                                                                        320 ₽
                                                    
                        
                                                            
                                                    
                                             
                                                        
                        
                            №
                        
                        
                            Наименование
                        
                        6
                        
                        
                            Кол-во в узле
                        
                        
                            Цена
                        
                        
                        1
                        
                                                                                        1 037 ₽
                                                    
                        
                                                            
                                                    
                                             
                                                        
                        
                            №
                        
                        
                            Наименование
                        
                        7
                        
                        
                            Кол-во в узле
                        
                        
                            Цена
                        
                        
                        2
                        
                                                                                        ⼀
                                                    
                        
                                                            
                                                    
                                             
                                                        
                        
                            №
                        
                        
                            Наименование
                        
                        8
                        
                        
                            Кол-во в узле
                        
                        
                            Цена
                        
                        
                        1
                        
                                                                                        804 ₽
                                                    
                        
                                                            
                                                    
                                             
                                                        
                        
                            №
                        
                        
                            Наименование
                        
                        9
                        
                        
                            Кол-во в узле
                        
                        
                            Цена
                        
                        
                        1
                        
                                                                                        106 ₽
                                                    
                        
                                                            
                                                    
                                             
                                                        
                        
                            №
                        
                        
                            Наименование
                        
                        10
                        
                        
                            Кол-во в узле
                        
                        
                            Цена
                        
                        
                        1
                        
                                                                                        126 ₽
                                                    
                        
                                                            
                                                    
                                             
                                                        
                        
                            №
                        
                        
                            Наименование
                        
                        11
                        
                        
                            Кол-во в узле
                        
                        
                            Цена
                        
                        
                        2
                        
                                                                                        361 ₽
                                                    
                        
                                                            
                                                    
                                             
                                                        
                        
                            №
                        
                        
                            Наименование
                        
                        12
                        
                        
                            Кол-во в узле
                        
                        
                            Цена
                        
                        
                        1
                        
                                                                                        1 035 ₽
                                                    
                        
                                                            
                                                    
                                             
                                                        
                                                        
                        
                            №
                        
                        
                            Наименование
                        
                        13
                        
                        
                            Кол-во в узле
                        
                        
                            Цена
                        
                        
                        1
                        
                                                                                        1 947 ₽
                                                    
                        
                                                            
                                                    
                                                    
                                Подобрать аналоги
                                
                            
                                             
                                                        
                        
                            №
                        
                        
                            Наименование
                        
                        13
                        
                        
                            Кол-во в узле
                        
                        
                            Цена
                        
                        
                        1
                        
                                                                                        1 595 ₽
                                                    
                        
                                                            
                                                    
                                                    
                                Подобрать аналоги
                                
                            
                                             
                                                        
                        
                            №
                        
                        
                            Наименование
                        
                        13
                        
                        
                            Кол-во в узле
                        
                        
                            Цена
                        
                        
                        1
                        
                                                                                        1 595 ₽
                                                    
                        
                                                            
                                                    
                                                    
                                Подобрать аналоги
                                
                            
                                             
                                                        
                        
                            №
                        
                        
                            Наименование
                        
                        13
                        
                        
                            Кол-во в узле
                        
                        
                            Цена
                        
                        
                        1
                        
                                                                                        1 595 ₽
                                                    
                        
                                                            
                                                    
                                                    
                                Подобрать аналоги
                                
                            
                                             
                                                        
                        
                            №
                        
                        
                            Наименование
                        
                        13
                        
                        
                            Кол-во в узле
                        
                        
                            Цена
                        
                        
                        1
                        
                                                                                        1 769 ₽
                                                    
                        
                                                            
                                                    
                                                    
                                Подобрать аналоги
                                
                            
                                             
                                                        
                        
                            №
                        
                        
                            Наименование
                        
                        14
                        
                        
                            Кол-во в узле
                        
                        
                            Цена
                        
                        
                        1
                        
                                                                                        ⼀
                                                    
                        
                                                            
                                                    
                                             
                                                        
                        
                            №
                        
                        
                            Наименование
                        
                        15
                        
                        
                            Кол-во в узле
                        
                        
                            Цена
                        
                        
                        1
                        
                                                                                        230 ₽
                                                    
                        
                                                            
                                                    
                                             
                                                        
                        
                            №
                        
                        
                            Наименование
                        
                        16
                        
                        
                            Кол-во в узле
                        
                        
                            Цена
                        
                        
                        1
                        
                                                                                        1 434 ₽
                                                    
                        
                                                            
                                                    
                                             
                                                        
                        
                            №
                        
                        
                            Наименование
                        
                        17
                        
                        
                            Кол-во в узле
                        
                        
                            Цена
                        
                        
                        1
                        
                                                                                        516 ₽
                                                    
                        
                                                            
                                                    
                                             
                                                        
                        
                            №
                        
                        
                            Наименование
                        
                        18
                        
                        
                            Кол-во в узле
                        
                        
                            Цена
                        
                        
                        1
                        
                                                                                        1 777 ₽
                                                    
                        
                                                            
                                                    
                                             
                                                        
                        
                            №
                        
                        
                            Наименование
                        
                        19
                        
                        
                            Кол-во в узле
                        
                        
                            Цена
                        
                        
                        1
                        
                                                                                        1 814 ₽
                                                    
                        
                                                            
                                                    
                                             
                                                        
                        
                            №
                        
                        
                            Наименование
                        
                        20
                        
                        
                            Кол-во в узле
                        
                        
                            Цена
                        
                        
                        4
                        
                                                                                        105 ₽
                                                    
                        
                                                            
                                                    
                                             
                                                        
                        
                            №
                        
                        
                            Наименование
                        
                        21
                        
                        
                            Кол-во в узле
                        
                        
                            Цена
                        
                        
                        1
                        
                                                                                        2 864 ₽
                                                    
                        
                                                            
                                                    
                                             
                                                        
                        
                            №
                        
                        
                            Наименование
                        
                        22
                        
                        
                            Кол-во в узле
                        
                        
                            Цена
                        
                        
                        1
                        
                                                                                        3 372 ₽
                                                    
                        
                                                            
                                                    
                                             
                                                        
                        
                            №
                        
                        
                            Наименование
                        
                        23
                        
                        
                            Кол-во в узле
                        
                        
                            Цена
                        
                        
                        1
                        
                                                                                        59 ₽
                                                    
                        
                                                            
                                                    
                                             
                                                        
                        
                            №
                        
                        
                            Наименование
                        
                        23
                        
                        
                            Кол-во в узле
                        
                        
                            Цена
                        
                        
                        1
                        
                                                                                        59 ₽
                                                    
                        
                                                            
                                                    
                                             
                                                        
                        
                            №
                        
                        
                            Наименование
                        
                        23
                        
                        
                            Кол-во в узле
                        
                        
                            Цена
                        
                        
                        1
                        
                                                                                        59 ₽
                                                    
                        
                                                            
                                                    
                                             
                                                        
                        
                            №
                        
                        
                            Наименование
                        
                        23
                        
                        
                            Кол-во в узле
                        
                        
                            Цена
                        
                        
                        1
                        
                                                                                        59 ₽
                                                    
                        
                                                            
                                                    
                                             
                                                        
                        
                            №
                        
                        
                            Наименование
                        
                        23
                        
                        
                            Кол-во в узле
                        
                        
                            Цена
                        
                        
                        1
                        
                                                                                        59 ₽
                                                    
                        
                                                            
                                                    
                                             
                                                        
                        
                            №
                        
                        
                            Наименование
                        
                        23
                        
                        
                            Кол-во в узле
                        
                        
                            Цена
                        
                        
                        1
                        
                                                                                        59 ₽
                                                    
                        
                                                            
                                                    
                                             
                                                        
                        
                            №
                        
                        
                            Наименование
                        
                        24
                        
                        
                            Кол-во в узле
                        
                        
                            Цена
                        
                        
                        1
                        
                                                                                        490 ₽
                                                    
                        
                                                            
                                                    
                                             
                                                        
                        
                            №
                        
                        
                            Наименование
                        
                        25
                        
                        
                            Кол-во в узле
                        
                        
                            Цена
                        
                        
                        1
                        
                                                                                        392 ₽