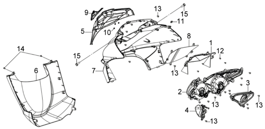
Запчасти  SYM Передняя облицовка Кузов/Электрика - в наличии на складе и под заказ!
                    
                    
                                                                            
             
            
    
        
        
    
        
            
                
            
                
                 
                         
            
                
                    
                    
                        Наименование
                    
                    Артикул
                    
                        Кол-во в узле
                    
                                            Цена
                                        Наличие
                    Аналоги
                 
                                                        
                        
                            №
                        
                        
                            Наименование
                        
                        1
                        
                        
                            Кол-во в узле
                        
                        
                            Цена
                        
                        
                        1
                        
                                                                                        496 ₽
                                                    
                        
                                                            
                                                    
                                             
                                                        
                        
                            №
                        
                        
                            Наименование
                        
                        2
                        
                        
                            Кол-во в узле
                        
                        
                            Цена
                        
                        
                        1
                        
                                                                                        10 782 ₽
                                                    
                        
                                                            
                                                    
                                             
                                                        
                        
                            №
                        
                        
                            Наименование
                        
                        2-1
                        
                        
                            Кол-во в узле
                        
                        
                            Цена
                        
                        
                        2
                        
                                                                                        2 207 ₽
                                                    
                        
                                                            
                                                    
                                             
                                                        
                        
                            №
                        
                        
                            Наименование
                        
                        2-2
                        
                        
                            Кол-во в узле
                        
                        
                            Цена
                        
                        
                        2
                        
                                                                                        71 ₽
                                                    
                        
                                                            
                                                    
                                                    
                                Подобрать аналоги
                                
                            
                                             
                                                        
                                                        
                        
                            №
                        
                        
                            Наименование
                        
                        2-4
                        
                        
                            Кол-во в узле
                        
                        
                            Цена
                        
                        
                        1
                        
                                                                                        5 391 ₽
                                                    
                        
                                                            
                                                    
                                             
                                                        
                        
                            №
                        
                        
                            Наименование
                        
                        2-5
                        
                        
                            Кол-во в узле
                        
                        
                            Цена
                        
                        
                        1
                        
                                                                                        5 287 ₽
                                                    
                        
                                                            
                                                    
                                                    
                                Подобрать аналоги
                                
                            
                                             
                                                        
                        
                            №
                        
                        
                            Наименование
                        
                        2-6
                        
                        
                            Кол-во в узле
                        
                        
                            Цена
                        
                        
                        1
                        
                                                                                        4 686 ₽
                                                    
                        
                                                            
                                                    
                                             
                                                        
                        
                            №
                        
                        
                            Наименование
                        
                        3
                        
                        
                            Кол-во в узле
                        
                        
                            Цена
                        
                        
                        1
                        
                                                                                        2 003 ₽
                                                    
                        
                                                            
                                                    
                                                    
                                Подобрать аналоги
                                
                            
                                             
                                                        
                        
                            №
                        
                        
                            Наименование
                        
                        3-1
                        
                        
                            Кол-во в узле
                        
                        
                            Цена
                        
                        
                        1
                        
                                                                                        282 ₽
                                                    
                        
                                                            
                                                    
                                             
                                                        
                        
                            №
                        
                        
                            Наименование
                        
                        4
                        
                        
                            Кол-во в узле
                        
                        
                            Цена
                        
                        
                        1
                        
                                                                                        2 003 ₽
                                                    
                        
                                                            
                                                    
                                                    
                                Подобрать аналоги
                                
                            
                                             
                                                        
                        
                            №
                        
                        
                            Наименование
                        
                        4-1
                        
                        
                            Кол-во в узле
                        
                        
                            Цена
                        
                        
                        1
                        
                                                                                        282 ₽
                                                    
                        
                                                            
                                                    
                                             
                                                        
                        
                            №
                        
                        
                            Наименование
                        
                        5
                        
                        
                            Кол-во в узле
                        
                        
                            Цена
                        
                        
                        1
                        
                                                                                        3 014 ₽
                                                    
                        
                                                            
                                                    
                                                    
                                Подобрать аналоги
                                
                            
                                             
                                                        
                        
                            №
                        
                        
                            Наименование
                        
                        6
                        
                        
                            Кол-во в узле
                        
                        
                            Цена
                        
                        
                        1
                        
                                                                                        6 372 ₽
                                                    
                        
                                                            
                                                    
                                                    
                                Подобрать аналоги
                                
                            
                                             
                                                        
                        
                            №
                        
                        
                            Наименование
                        
                        6
                        
                        
                            Кол-во в узле
                        
                        
                            Цена
                        
                        
                        1
                        
                                                                                        6 468 ₽
                                                    
                        
                                                            
                                                    
                                                    
                                Подобрать аналоги
                                
                            
                                             
                                                        
                        
                            №
                        
                        
                            Наименование
                        
                        6
                        
                        
                            Кол-во в узле
                        
                        
                            Цена
                        
                        
                        1
                        
                                                                                        5 052 ₽
                                                    
                        
                                                            
                                                    
                                                    
                                Подобрать аналоги
                                
                            
                                             
                                                        
                        
                            №
                        
                        
                            Наименование
                        
                        6
                        
                        
                            Кол-во в узле
                        
                        
                            Цена
                        
                        
                        1
                        
                                                                                        6 277 ₽
                                                    
                        
                                                            
                                                    
                                                    
                                Подобрать аналоги
                                
                            
                                             
                                                        
                        
                            №
                        
                        
                            Наименование
                        
                        6
                        
                        
                            Кол-во в узле
                        
                        
                            Цена
                        
                        
                        1
                        
                                                                                        4 632 ₽
                                                    
                        
                                                            
                                                    
                                                    
                                Подобрать аналоги
                                
                            
                                             
                                                        
                        
                            №
                        
                        
                            Наименование
                        
                        7
                        
                        
                            Кол-во в узле
                        
                        
                            Цена
                        
                        
                        1
                        
                                                                                        7 506 ₽
                                                    
                        
                                                            
                                                    
                                                    
                                Подобрать аналоги
                                
                            
                                             
                                                        
                        
                            №
                        
                        
                            Наименование
                        
                        7
                        
                        
                            Кол-во в узле
                        
                        
                            Цена
                        
                        
                        1
                        
                                                                                        8 021 ₽
                                                    
                        
                                                            
                                                    
                                                    
                                Подобрать аналоги
                                
                            
                                             
                                                        
                        
                            №
                        
                        
                            Наименование
                        
                        7
                        
                        
                            Кол-во в узле
                        
                        
                            Цена
                        
                        
                        1
                        
                                                                                        5 607 ₽
                                                    
                        
                                                            
                                                    
                                                    
                                Подобрать аналоги
                                
                            
                                             
                                                        
                        
                            №
                        
                        
                            Наименование
                        
                        7
                        
                        
                            Кол-во в узле
                        
                        
                            Цена
                        
                        
                        1
                        
                                                                                        5 471 ₽
                                                    
                        
                                                            
                                                    
                                                    
                                Подобрать аналоги
                                
                            
                                             
                                                        
                        
                            №
                        
                        
                            Наименование
                        
                        7
                        
                        
                            Кол-во в узле
                        
                        
                            Цена
                        
                        
                        1
                        
                                                                                        9 326 ₽
                                                    
                        
                                                            
                                                    
                                                    
                                Подобрать аналоги
                                
                            
                                             
                                                        
                        
                            №
                        
                        
                            Наименование
                        
                        8
                        
                        
                            Кол-во в узле
                        
                        
                            Цена
                        
                        
                        1
                        
                                                                                        1 035 ₽
                                                    
                        
                                                            
                                                    
                                             
                                                        
                        
                            №
                        
                        
                            Наименование
                        
                        9
                        
                        
                            Кол-во в узле
                        
                        
                            Цена
                        
                        
                        1
                        
                                                                                        1 423 ₽
                                                    
                        
                                                            
                                                    
                                                    
                                Подобрать аналоги
                                
                            
                                             
                                                        
                        
                            №
                        
                        
                            Наименование
                        
                        9-1
                        
                        
                            Кол-во в узле
                        
                        
                            Цена
                        
                        
                        1
                        
                                                                                        446 ₽
                                                    
                        
                                                            
                                                    
                                             
                                                        
                        
                            №
                        
                        
                            Наименование
                        
                        10
                        
                        
                            Кол-во в узле
                        
                        
                            Цена
                        
                        
                        1
                        
                                                                                        36 ₽
                                                    
                        
                                                            
                                                    
                                             
                                                        
                        
                            №
                        
                        
                            Наименование
                        
                        11
                        
                        
                            Кол-во в узле
                        
                        
                            Цена
                        
                        
                        2
                        
                                                                                        14 ₽
                                                    
                        
                                                            
                                                    
                                             
                                                        
                        
                            №
                        
                        
                            Наименование
                        
                        12
                        
                        
                            Кол-во в узле
                        
                        
                            Цена
                        
                        
                        4
                        
                                                                                        31 ₽
                                                    
                        
                                                            
                                                    
                                             
                                                        
                        
                            №
                        
                        
                            Наименование
                        
                        13
                        
                        
                            Кол-во в узле
                        
                        
                            Цена
                        
                        
                        22
                        
                                                                                        17 ₽
                                                    
                        
                                                            
                                                    
                                             
                                                        
                        
                            №
                        
                        
                            Наименование
                        
                        14
                        
                        
                            Кол-во в узле
                        
                        
                            Цена
                        
                        
                        2
                        
                                                                                        14 ₽
                                                    
                        
                                                            
                                                    
                                             
                                                        
                        
                            №
                        
                        
                            Наименование
                        
                        15
                        
                        
                            Кол-во в узле
                        
                        
                            Цена
                        
                        
                        2
                        
                                                                                        14 ₽