Запчасти  SYM Передняя облицовка Кузов/Электрика - в наличии на складе и под заказ!
                    
                    
                                                                            
             
            
    
        
        
    
        
            
                
            
                
                 
                         
            
                
                    
                    
                        Наименование
                    
                    Артикул
                    
                        Кол-во в узле
                    
                                            Цена
                                        Наличие
                    Аналоги
                 
                                                        
                        
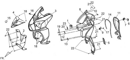
                            №
                        
                        
                            Наименование
                        
                        1
                        
                        
                            Кол-во в узле
                        
                        
                            Цена
                        
                        
                        1
                        
                                                                                        1 780 ₽
                                                    
                        
                                                            
                                                    
                                             
                                                        
                        
                            №
                        
                        
                            Наименование
                        
                        2
                        
                        
                            Кол-во в узле
                        
                        
                            Цена
                        
                        
                        1
                        
                                                                                        3 287 ₽
                                                    
                        
                                                            
                                                    
                                                    
                                Подобрать аналоги
                                
                            
                                             
                                                        
                        
                            №
                        
                        
                            Наименование
                        
                        2
                        
                        
                            Кол-во в узле
                        
                        
                            Цена
                        
                        
                        1
                        
                                                                                        1 611 ₽
                                                    
                        
                                                            
                                                    
                                                    
                                Подобрать аналоги
                                
                            
                                             
                                                        
                        
                            №
                        
                        
                            Наименование
                        
                        2
                        
                        
                            Кол-во в узле
                        
                        
                            Цена
                        
                        
                        1
                        
                                                                                        4 596 ₽
                                                    
                        
                                                            
                                                    
                                                    
                                Подобрать аналоги
                                
                            
                                             
                                                        
                        
                            №
                        
                        
                            Наименование
                        
                        2
                        
                        
                            Кол-во в узле
                        
                        
                            Цена
                        
                        
                        1
                        
                                                                                        2 235 ₽
                                                    
                        
                                                            
                                                    
                                                    
                                Подобрать аналоги
                                
                            
                                             
                                                        
                        
                            №
                        
                        
                            Наименование
                        
                        2
                        
                        
                            Кол-во в узле
                        
                        
                            Цена
                        
                        
                        1
                        
                                                                                        1 746 ₽
                                                    
                        
                                                            
                                                    
                                                    
                                Подобрать аналоги
                                
                            
                                             
                                                        
                        
                            №
                        
                        
                            Наименование
                        
                        2
                        
                        
                            Кол-во в узле
                        
                        
                            Цена
                        
                        
                        1
                        
                                                                                        1 907 ₽
                                                    
                        
                                                            
                                                    
                                                    
                                Подобрать аналоги
                                
                            
                                             
                                                        
                        
                            №
                        
                        
                            Наименование
                        
                        2
                        
                        
                            Кол-во в узле
                        
                        
                            Цена
                        
                        
                        1
                        
                                                                                        1 560 ₽
                                                    
                        
                                                            
                                                    
                                                    
                                Подобрать аналоги
                                
                            
                                             
                                                        
                        
                            №
                        
                        
                            Наименование
                        
                        3
                        
                        
                            Кол-во в узле
                        
                        
                            Цена
                        
                        
                        1
                        
                                                                                        8 423 ₽
                                                    
                        
                                                            
                                                    
                                                    
                                Подобрать аналоги
                                
                            
                                             
                                                        
                        
                            №
                        
                        
                            Наименование
                        
                        3-1
                        
                        
                            Кол-во в узле
                        
                        
                            Цена
                        
                        
                        1
                        
                                                                                        59 ₽
                                                    
                        
                                                            
                                                    
                                             
                                                        
                        
                            №
                        
                        
                            Наименование
                        
                        3
                        
                        
                            Кол-во в узле
                        
                        
                            Цена
                        
                        
                        1
                        
                                                                                        4 548 ₽
                                                    
                        
                                                            
                                                    
                                                    
                                Подобрать аналоги
                                
                            
                                             
                                                        
                        
                            №
                        
                        
                            Наименование
                        
                        3-1
                        
                        
                            Кол-во в узле
                        
                        
                            Цена
                        
                        
                        1
                        
                                                                                        59 ₽
                                                    
                        
                                                            
                                                    
                                             
                                                        
                        
                            №
                        
                        
                            Наименование
                        
                        3
                        
                        
                            Кол-во в узле
                        
                        
                            Цена
                        
                        
                        1
                        
                                                                                        9 095 ₽
                                                    
                        
                                                            
                                                    
                                                    
                                Подобрать аналоги
                                
                            
                                             
                                                        
                        
                            №
                        
                        
                            Наименование
                        
                        3-1
                        
                        
                            Кол-во в узле
                        
                        
                            Цена
                        
                        
                        1
                        
                                                                                        59 ₽
                                                    
                        
                                                            
                                                    
                                             
                                                        
                        
                            №
                        
                        
                            Наименование
                        
                        3
                        
                        
                            Кол-во в узле
                        
                        
                            Цена
                        
                        
                        1
                        
                                                                                        9 935 ₽
                                                    
                        
                                                            
                                                    
                                                    
                                Подобрать аналоги
                                
                            
                                             
                                                        
                        
                            №
                        
                        
                            Наименование
                        
                        3-1
                        
                        
                            Кол-во в узле
                        
                        
                            Цена
                        
                        
                        1
                        
                                                                                        59 ₽
                                                    
                        
                                                            
                                                    
                                             
                                                        
                        
                            №
                        
                        
                            Наименование
                        
                        3
                        
                        
                            Кол-во в узле
                        
                        
                            Цена
                        
                        
                        1
                        
                                                                                        5 157 ₽
                                                    
                        
                                                            
                                                    
                                                    
                                Подобрать аналоги
                                
                            
                                             
                                                        
                        
                            №
                        
                        
                            Наименование
                        
                        3-1
                        
                        
                            Кол-во в узле
                        
                        
                            Цена
                        
                        
                        1
                        
                                                                                        59 ₽
                                                    
                        
                                                            
                                                    
                                             
                                                        
                        
                            №
                        
                        
                            Наименование
                        
                        3
                        
                        
                            Кол-во в узле
                        
                        
                            Цена
                        
                        
                        1
                        
                                                                                        4 959 ₽
                                                    
                        
                                                            
                                                    
                                                    
                                Подобрать аналоги
                                
                            
                                             
                                                        
                        
                            №
                        
                        
                            Наименование
                        
                        3-1
                        
                        
                            Кол-во в узле
                        
                        
                            Цена
                        
                        
                        1
                        
                                                                                        59 ₽
                                                    
                        
                                                            
                                                    
                                             
                                                        
                        
                            №
                        
                        
                            Наименование
                        
                        3
                        
                        
                            Кол-во в узле
                        
                        
                            Цена
                        
                        
                        1
                        
                                                                                        4 470 ₽
                                                    
                        
                                                            
                                                    
                                                    
                                Подобрать аналоги
                                
                            
                                             
                                                        
                        
                            №
                        
                        
                            Наименование
                        
                        3-1
                        
                        
                            Кол-во в узле
                        
                        
                            Цена
                        
                        
                        1
                        
                                                                                        59 ₽
                                                    
                        
                                                            
                                                    
                                             
                                                        
                        
                            №
                        
                        
                            Наименование
                        
                        4
                        
                        
                            Кол-во в узле
                        
                        
                            Цена
                        
                        
                        1
                        
                                                                                        2 178 ₽
                                                    
                        
                                                            
                                                    
                                             
                                                        
                                                        
                                                        
                                                        
                        
                            №
                        
                        
                            Наименование
                        
                        8
                        
                        
                            Кол-во в узле
                        
                        
                            Цена
                        
                        
                        1
                        
                                                                                        3 706 ₽
                                                    
                        
                                                            
                                                    
                                             
                                                        
                                                        
                        
                            №
                        
                        
                            Наименование
                        
                        10
                        
                        
                            Кол-во в узле
                        
                        
                            Цена
                        
                        
                        1
                        
                                                                                        38 ₽
                                                    
                        
                                                            
                                                    
                                             
                                                        
                        
                            №
                        
                        
                            Наименование
                        
                        11
                        
                        
                            Кол-во в узле
                        
                        
                            Цена
                        
                        
                        1
                        
                                                                                        611 ₽
                                                    
                        
                                                            
                                                    
                                             
                                                        
                        
                            №
                        
                        
                            Наименование
                        
                        12
                        
                        
                            Кол-во в узле
                        
                        
                            Цена
                        
                        
                        1
                        
                                                                                        53 ₽
                                                    
                        
                                                            
                                                    
                                             
                                                        
                        
                            №
                        
                        
                            Наименование
                        
                        13
                        
                        
                            Кол-во в узле
                        
                        
                            Цена
                        
                        
                        1
                        
                                                                                        53 ₽
                                                    
                        
                                                            
                                                    
                                             
                                                        
                        
                            №
                        
                        
                            Наименование
                        
                        14
                        
                        
                            Кол-во в узле
                        
                        
                            Цена
                        
                        
                        1
                        
                                                                                        53 ₽
                                                    
                        
                                                            
                                                    
                                             
                                                        
                        
                            №
                        
                        
                            Наименование
                        
                        15
                        
                        
                            Кол-во в узле
                        
                        
                            Цена
                        
                        
                        1
                        
                                                                                        343 ₽
                                                    
                        
                                                            
                                                    
                                             
                                                        
                        
                            №
                        
                        
                            Наименование
                        
                        16
                        
                        
                            Кол-во в узле
                        
                        
                            Цена
                        
                        
                        1
                        
                                                                                        157 ₽
                                                    
                        
                                                            
                                                    
                                             
                                                        
                        
                            №
                        
                        
                            Наименование
                        
                        17
                        
                        
                            Кол-во в узле
                        
                        
                            Цена
                        
                        
                        1
                        
                                                                                        49 ₽
                                                    
                        
                                                            
                                                    
                                             
                                                        
                        
                            №
                        
                        
                            Наименование
                        
                        18
                        
                        
                            Кол-во в узле
                        
                        
                            Цена
                        
                        
                        8
                        
                                                                                        14 ₽
                                                    
                        
                                                            
                                                    
                                             
                                                        
                        
                            №
                        
                        
                            Наименование
                        
                        19
                        
                        
                            Кол-во в узле
                        
                        
                            Цена
                        
                        
                        4
                        
                                                                                        31 ₽
                                                    
                        
                                                            
                                                    
                                             
                                                        
                        
                            №
                        
                        
                            Наименование
                        
                        20
                        
                        
                            Кол-во в узле
                        
                        
                            Цена
                        
                        
                        1
                        
                                                                                        25 ₽
                                                    
                        
                                                            
                                                    
                                             
                                                        
                        
                            №
                        
                        
                            Наименование
                        
                        21
                        
                        
                            Кол-во в узле
                        
                        
                            Цена
                        
                        
                        6
                        
                                                                                        14 ₽
                                                    
                        
                                                            
                                                    
                                             
                                                        
                        
                            №
                        
                        
                            Наименование
                        
                        22
                        
                        
                            Кол-во в узле
                        
                        
                            Цена
                        
                        
                        10
                        
                                                                                        16 ₽
                                                    
                        
                                                            
                                                    
                                             
                                                        
                        
                            №
                        
                        
                            Наименование
                        
                        23
                        
                        
                            Кол-во в узле
                        
                        
                            Цена
                        
                        
                        1
                        
                                                                                        82 ₽